Products Description
El Probador de Sangrado por Presión para Lechada de Pretensado está diseñado para medir con precisión la tasa de sangrado inducido por presión de los materiales de inyección utilizados en conductos de hormigón pretensado. Equipado con un sistema de carga preciso, proporciona resultados fiables y de alta precisión tanto para ensayos de laboratorio como para pruebas in situ de materiales de inyección.
Probador de sangrado por presión para lechada de pretensado
Modelo: TDYJM-2
I. Presentación del producto
El nuevo comprobador de purga de presión estándar para materiales de lechado de conductos pretensados cumple con la norma JT/T946-2022, "Ensayo de materiales de lechado de conductos pretensados para ingeniería de carreteras".
Normas de referencia: EN 445, EN 447, ASTM C940/C940M
II.Parámetros técnicos
1. Volumen del cilindro de prueba: 250 ml
2. Diámetro interior del cilindro de prueba: 40 mm
3. Diámetro exterior del tubo de drenaje: 20 mm
4. Longitud del tubo de purga: aprox. 240 mm
5. Malla del filtro: malla 325
6. Manómetro: 0–1 MPa
III.Procedimiento de prueba
1. Inserte el tubo de drenaje con la malla del filtro instalada en el orificio del asiento de sellado y, a continuación, apriete el cilindro de acero al asiento de sellado.
2. Vierta 200 ml de material de lechado bien mezclado en el recipiente del filtro prensa completamente ensamblado, por la parte inferior, y registre su volumen V0 con una precisión de 0,2 ml.
3. Instale y apriete la tapa de sellado superior, colóquela verticalmente sobre el soporte, déjela reposar durante 10 minutos, conecte el extremo superior al aire comprimido, abra la válvula de aire comprimido y presurice rápidamente hasta la presión de prueba.
4. Tras mantener la presión de prueba durante 5 minutos, cierre la válvula de aire comprimido para liberar la presión e incline ligeramente el embudo para que fluya toda el agua de la parte inferior. Registre el volumen de agua V1 con una precisión de 0,1 mL.
Cálculo y selección de valores de los resultados de la prueba: Cálculo de la tasa de purga de agua inducida por la presión
La tasa de purga de agua inducida por la presión se calcula según la fórmula (D.1):
Myl = V1/v0 x 100%
(D.1)
Donde:
Myl: Tasa de sangrado por presión;
V1: Volumen de agua de sangrado recolectada en el recipiente de recolección, en mililitros (mL);
V0: Volumen de material de lechada antes de la prueba, en mililitros (mL).
Evaluación del resultado de la prueba
El resultado de la prueba se tomará como la media aritmética de dos mediciones consecutivas, registradas con una precisión del 0,1 %, y se utilizará como la tasa de exudación por presión del material de lechado.

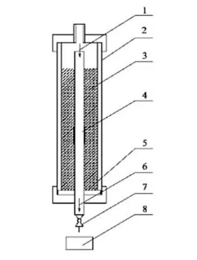
Leyenda/Descripción del componente:
1. Entrada de aire comprimido
2. Cilindro de filtración a presión
3. Lechada
4. Tubo de purga (cubierto con 3 capas de filtro de malla 325)
5. Anillo de sellado de goma
6. Agua de purga
7. Malla esférica
8. Recipiente colector
